锅炉一次风、二次风的作用和配比原则?
2023-02-13 半岛体育在线注册,半岛体育(中国)
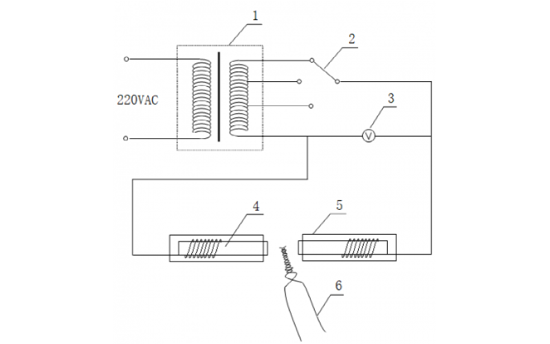
什么是安全栅?什么是信号隔离器?
CFB锅炉的各设备的作用
换热器头盖法兰的带压堵漏案例分享
2023-02-11 半岛体育在线注册,半岛体育(中国)
分享常用金属材料硬度对照表
锅炉“干锅”有什么危害?如何处理?
热电偶补偿原理知识分享
2023-02-06 半岛体育在线注册,半岛体育(中国)
一种贵金属热电偶焊接装置